|
|
Разработка графического постпроцессора для кода TRAC
Ведущими специалистами компании «Моделирующие системы» разработан графический постпроцессор на основе программного кода TRAC, который применяется для трехмерных прецизионных теплогидравлических расчётов ядерного реактора.
Общая характеристика кода TRAC
Код улучшенной оценки TRAC разработан в Лос-Аламосской лаборатории США.
- 3-D и 1-D нестационарная гидродинамическая модель двухфазных потоков (вода – пар, неконденсируемый газ)
- Негомогенная двухскоростная гидродинамическая модель
- Неравновесная модель
- 3-D и 1-D нестационарная модель теплопроводности
- Возможность моделирования реального сценария переходных режимов работы и аварийных процессов в реакторных установках
Расширение возможностей кода TRAC
- Проведен перенос кода TRAC с операционной системы LINUX на OC Microsoft Windows
- Проведена модернизация кода TRAC с целью расширения предельных значений размерностей расчетных сеток
- Разработан графический постпроцессор, предназначенный для анализа динамических и стационарных параметров, визуализации результатов и отладки расчетов
- Проведена модификация замыкающих соотношений кода (применена формула Лабунцова Д.А.)
- Проведена модификация термодинамических свойств воды по новым стандартам
Архитектура расчетного комплекса
Обеспечение качества результатов вычислительного процесса
Возможности графического постпроцессора
Анимация четырнадцати входных пространственных массивов исходных матриц, быстрая графическая диагностика:
- 4 матриц коэффициентов пористости, 6 матриц коэффициентов гидравлических сопротивлений, 3 матриц гидравлических диаметров;
- матрица объёмного паросодержания;
- анимация более 50 выдаваемых кодом и дополнительно рассчитываемых в постпроцессоре величин:

Не вызывает сомнения необходимость применения графических средств обработки (препроцессора и постпроцессора) при использовании 3-D кодов с размерностью более 10000 расчётных ячеек.
В связи с тем, что разработчики кода TRAC не поставляют графических средств обработки, в ЭНИМЦ МС была проведена разработка специального пакета программ (программы Fieldview, TracBin, PreVessel, Tracdiff) предназначенного для следующих целей.
- Пакет программ выполняет вывод полей 3-D матриц исходных данных для препроцессорной графической обработки (диагностика 3-D массивов коэффициентов пористости, гидравлических сопротивлений, гидравлических диаметров).
- Визуальный контроль процесса сходимости решения по расчётным полям векторных (6 полей) и скалярных (около 40 полей) 3-D величин.
- Получение результатов локальных характеристик для пространственных (2-D и 3-D) полей векторных и скалярных величин в графической и цифровой форме.
- Tracdiff получает разность решений двух задач на одинаковых сетках для всех 3-D полей векторных и скалярных величин .
Выходной информацией являются:
- Графический файл результатов на заданной двухмерной плоскости в виде картограмм (в “цветном” виде или в виде распределений векторного поля для скоростей фаз).
- Текстовый (цифровой) файл результатов на заданной двухмерной плоскости в виде соответствующих картограмм. Данный метод удобен для дальнейшей обработки графическими пакетами и другими приложениями.
В список параметров для I и II контуров входят: 3D массивы компонент скорости жидкости и пара или компонент приведённой скорости, объёмное паросодержание, температуры жидкой и паровой фаз, температура насыщения, давление, давление насыщения, массовое паросодержание, массовая скорость, плотности фаз и смеси, коэффициент скольжения, плотность теплового потока, распределения коэффициентов теплоотдачи по каждому контуру и другие параметры.
Моделирование реактора ВК
Реактор ВК предназначен для выработки тепловой энергии в составе реакторной установки с обеспечением естественной циркуляции теплоносителя во всех эксплуатационных режимах: пуск (разогрев, выход на мощность), работа на мощности, останов, расхолаживание.
Отличительные особенности кипящего реактора ВК:
- Тепловая мощность 750 МВт;
- Применение корпуса ВВЭР-1000 при интегральной компоновке первого контура;
- Естественная циркуляция в первом контуре;
- Срок службы 60 лет;
- Обогащение двуокисного топлива 4%;
- Повышенный уровень безопасности по сравнению с действующими в мире АС.
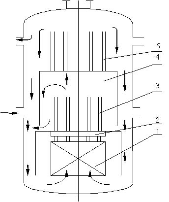
Ниже приведена принципиальная схема реакторной установки

Рис. 1 Принципиальная схема реакторной установки ВК
1 – активная зона;
2 – камера смешения;
3 – тяговые трубы;
4 – распределительная камера (РК, сепаратор I ступени);
5 – осевые (центробежные) сепараторы (ОС).
Проведенные расчеты позволяют сделать вывод о важности согласования всех исходных данных. При полностью согласованных параметрах геометрии, тепловой мощности и коэффициентах сопротивления в элементах контура естественной циркуляции, отличия между кодами TRAC и РОСА (код главного конструктора) не превышают 3% по величине общеконтурной циркуляции.

Рис. 2 Расчетная схема в R-Z геометрии.
Поле скорости жидкости (стрелки) и паросодержания (цвет)
Проведенные расчеты в трехмерной геометрии показали, что отличие в паропроизводительности и тепловой мощности парогенератора ПГВ-1000 между кодом TRAC и проектным значением не превосходит 2,5%.
Таким образом, при достаточно детальной нодализации расчетной схемы и согласованном задании всех исходных данных, использование кода TRAC позволяет получить интегральные характеристики установок и оборудования достаточно хорошо согласующиеся с проектными данными и отечественными кодами, несмотря на имеющиеся существенные отличия в системах замыкающих соотношений, принятых в кодах США и в Минатоме.
Рис. 3 Поле истинного объемного паросодержания в X-Z сечении
парогенератора по II контуру (в районе коллекторов).

Рис. 4 X-Z сечение ПГВ-1000. Поле объёмного паросодержания
в районе над пакетами труб ПГ.
Динамика опорожнения ПГВ-1000 по II контуру при прекращении подачи питательной воды

Рис. 5 Расчет расхода пара при отключении питательной воды в ПГВ-1000 по кодам TRAC
в сравнении с расчетами по кодам CORSAR (НИТИ, 2 версии модели бака) и CATHARE (Франция).

Рис. 6 Расчет изменения уровня воды при отключении питательной воды в ПГВ-1000.
Расчет по кодам TRAC в сравнении с верификацией по кодам CORSAR
(НИТИ 2 версии модели бака) и CATHARE (Франция).
|